车床顶尖/顶针

产品展示

车床顶尖/顶针

GR精密级固定顶针(半边式)

点击产品图片放大

资料下载

在线询盘

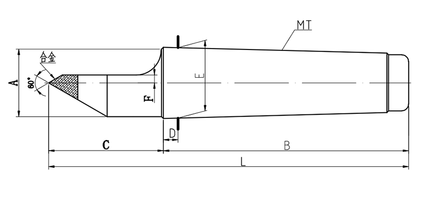
产品详细介绍

类型:固定式系列

顶尖主体材料为低淬透性渗碳钢,经渗碳淬火处理,硬度 HRC58-62。

顶尖轴头部镶嵌优质钨钢,硬度 HRA93-94。

适用于高精密轴心研磨加工。

2025新澳原料资料大全

规格 / Specification   单位/ UNIT:mm

型式/外表尺寸

Model/Spec

A B C D E F L 合金直径

精度(mm)

GR-1 11.5 57 23 3.5 12.065(MT1) 2 80 8 0.003
GR-2 17 69 31 5 17.78(MT2) 3 100 10 0.003
GR-3 23 86 39 5 23.825(MT3) 3.5 125 12 0.003
GR-4 30 109 51 6.5 31.267(MT4) 5 160 15 0.003
GR-5 43 136 64 6.5 44.399(MT5) 8 200 18 0.003
非标需求可定制
保留技术更改的权利


最新新闻

  • 东莞国际机床展览会

    展会及展位信息: 时间:2025.10.29-11.01 开放时间:09:00-18:00 地点: 广东现代国际展览中心 展位号:3A-08

    深入了解
  • 玉环国际机床展览会

    展会及展位信息: 时间:2025.10.17-10.20 开放时间:09:00-18:00 地点: 浙江省台州市玉环市玉环会展中心 展位号:W2-T26

    深入了解
  • 武汉国际机床展-中国国际机电产品博览会WME

    展会及展位信息: 时间:2025年10月11日-13日 开放时间:09:00-18:00 地点:武汉国际博览中心 展位号:B1-1306 & B1-1004

    深入了解